【導讀】近些年,高速光模塊市場迎來快速增長。5G基建建設的持續推進和互聯網時代數據市場的需求爆發持續刺激著對50G/100G/200G/400G高速光模塊的需求。全球100G/200G/400G的光模塊在未來3到5年預計會以30%的CAGR持續增長。
(一)高速光模塊的市場概況
近些年,高速光模塊市場迎來快速增長。5G基建建設的持續推進和互聯網時代數據市場的需求爆發持續刺激著對50G/100G/200G/400G高速光模塊的需求。全球100G/200G/400G的光模塊在未來3到5年預計會以30%的CAGR持續增長。

圖1:高速光模塊的市場出貨量(Y16-Y22F)
5G基站建設架構從RRU+BBU進化到AAU+CU+DU推動出前傳光模塊,中傳光模塊及回傳光模塊市場需求:
1. 前傳光模塊主要使用在AAU到DU之間的光信號傳輸,集中在25G和50G的高速光模塊。前傳光模塊的市場需求量相比于后兩者更大,在未來四年預計有48Mu的市場需求量。
2. 中傳光模塊主要應用在DU和CU之間的光電信號轉換。這一部分的數據量更大,中傳光模塊主要集中在50G和100G的高速光模塊,預計在未來四年的總市場需求量在16Mu。
3. 回傳光模塊主要應用于CU與承載網服務器之間,有著最高的信號速率要求,集中于100G,200G及400G,未來四年的市場需求在7Mu。

圖2:5G基站建設的整體架構
數據中心市場對高速光模塊的需求在僅幾年也持續提高。得益于兩點:
1. 傳統三層網絡結構式服務器架構向葉脊架構數據中心的進化:大大增加了數據中心內部交換連接點的數量,對應提高了對高速光模塊的數量需求;

圖3:數據中心架構演進
2. 互聯網時代加成云計算云存儲概念,持續點燃著數據中心的建設。我國數據中心數量也從2012年的1萬個到如今的7.4萬個,已建成的超大型、大型數據中心數量占比達到12.7%。數據中心市場的持續升溫也同樣刺激著高速光模塊的市場需求。
(二)TI電源及信號鏈解決方案助力光模塊小體積布板設計
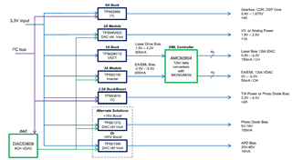
光模塊產品本身體積較小,工程師在使用體積較大的電源及信號鏈芯片時,往往會使設計受限于Layout。TI提供完整的高速光模塊供電鏈路供工程師設計參考使用。具體參考如下框圖:

圖4:TI參考推薦高速光模塊供電軌方案
從金手指的3.3V接口供電到各個光模塊內的不同應用單元,TI都提供了不同類型的超小封裝電源及信號鏈產品解決方案。我們將從如下4個主要的功能大塊做詳細介紹:
1. 激光發射器驅動器(LDD)供電單元:
針對于不同廠家的激光發射器驅動器的供電電壓的不同,在此處的電源方案設計分為兩種不同的拓撲類型:Buck電源解決方案和Buck-boost電源解決方案。較普遍的供電電流需求在小于3A。較高開關頻率的DC/DC芯片可以降低對電路設計時外圍功率電感的感量和最大不飽和電流值的要求,進而提高整個布板效率。同時高開關頻率的DCDC電源芯片對輸出電流的紋波抑制也有較高的抑制作用。
Buck電源解決方案匯總如下。TI提供兩種不同類型的Buck芯片:轉換器芯片及電源模塊。高開關頻率的轉換器芯片可以有效降低電感尺寸進而精進占板面積。而集成度更高的電源模塊產品將電感及部分輸入輸出電容集成,不僅在精進占板面積上有更優質的表現,同時在降低EMI,簡化設計上為工程師提供便捷。

表1:TI適用于LDD驅動方案的buck產品選型表
Buck-Boost電源解決方案適用于一些激光發射器驅動芯片供電電壓大于3.3V的情況。TI提供高開關頻率的Buck-Boost芯片:TPS61099B。
TPS61099B是一顆即使在輕載下仍然通過強制PWM控制方案以保證在全負載范圍內都能很好的抑制輸出電源的高頻紋波。3MHz的開關頻率及1.23 x 0.88mmWCSP的封裝極大的減小了整體電源方案的布板面積。1A的最大開關節點電流限制,適用于電流需求小于1A的絕大部分應用。如下是TPS61099B的典型應用電路。通過少量的外圍無源元件即可實現。

圖5:TPS61099B典型電路應用
2. PAM4DSP或者主MCU供電單元:
傳統的10G及10G以下的光模塊設計中,MCU的功耗往往相對較低,采用3A及以下的Buck降壓芯片可以滿足供電電源的參數設計。在50G及以上的高速光模塊中,尤其是對于更多通道更遠傳輸距離的LR4/ER4等高速光模塊,往往不僅要采用功耗更高的PAM4-DSP控制芯片,還會加入FPGA單元提高數據的處理能力。這時,3A及以上的Buck降壓芯片往往被工程師所采用。基于目前收集的對供電電源的要求,TI提供如下電源解決方案供光模塊硬件工程師選擇:

表2:TI適用于PAM4DSP 或主MCU的buck產品選型表
APD高壓驅動單元
雪崩光電二極管(Avalanche Photon Diode, APD)常在需要進行遠距傳輸的光模塊中在接收端的光電信號轉換中被使用。在光電二極管的PN結上加上反向偏壓后,射入的光被PN吸收后會形成光電流,加大反向偏壓會產生雪崩(光電流成倍激增)的現象。同時利用了載流子的雪崩倍增效應來放大光電信號以提高檢測的靈敏度。APD往往需要大于35V的高壓進行驅動。TI提供集成有非同步升壓及電流鏡的TPS61391以驅動高壓APD。
TPS61391是一顆集成非同步升壓轉換器及電流鏡電路的APD驅動芯片。可以將金手指提供的3.3v的端口電壓最大升壓到85V。800mA的開關節點電流值可以保證在85V的高壓輸出情況下仍然能提供10mA的驅動電流值。內置的1:5和4:5的電流鏡可以根據不同精度的電流監測自動無縫切換。700KHz的開關頻率使得在外部電感設計的過程中,即使在占空比較小的情況下也能有效的控制電感體積。TPS61391的封裝是3x3的QFN封裝,占板面積相對較小。
同時TI也推出了TPS61390以應用在低速PON光模塊。在內置與TPS61391相同規格的非同步升壓轉換器和電流鏡電路的同時,繼續集成采樣保持電路,以適應FTTH典型網絡中突發型光信號的接收。
如下是TPS61391的典型電路應用:

圖6:TPS61391典型電路應用
4. EML激光發射器驅動電路:
EML激光發射器的驅動電路對于激光器電光信號轉換的質量起到了重要的作用。針對于EML激光器,工程師在設計過程中主要涉及到EA負壓驅動、恒電流光功率控制、TEC控制。
針對于TEC控制,TI提供通過Buck-boost芯片實現TEC控制,相比于傳統的H橋控制模式,方案占板面積更小,成本更低,同時整體方案仍能保持在90%。TI提供的參考設計TIDA-050017為參考解決方案,以TPS63802/TPS63805為核心,通過數字化的溫度PID控制以實現對EML激光器的恒溫控制。


圖7:基于TPS63802的TIA溫度控制設計
針對于多通道高速光模塊中EA負壓驅動及恒流光功率控制,TI最新推出了一款高集成度的EML激光器驅動及監測芯片AMC60804。如下是AMC60804的內部系統框圖。AMC60804內部集成有4路IDAC、4路VDAC以及12路ADC。IDAC可以提供從0到150mA的驅動電流,VDAC可以最大可以實現-5V到0V或0V到+5V的輸出電壓范圍。同時,AMC60804也內置一個12通道的ADC。4路ADC采樣IDAC的端口電壓值,4路ADC采樣VDAC的引腳電流值,AMC60804仍外置出4個通道的ADC采樣,以實現部分光模塊客戶需求的LOS檢測功能。ADC通道檢測的結果可以通過AMC60804內置的寄存器去讀寫。AMC6084的封裝是僅有2.5 x 2.5mm的WCSP封裝,極大的優化了多通道高速光模塊在設計布板時的難度。AMC60804是一顆專門用于EML激光器驅動及監測的芯片,目前已經量產,工程師可以在TI官網上找到完整的數據手冊以及用于EVM調試的上位機軟件AMC60804-EVM。

圖8:AMC60804的典型框圖
(三)本文小結
本文介紹了高速光模塊近年來的市場情況,同時匯總了TI德州儀器高密度電源及信號鏈解決方案,囊括了光模塊硬件設計工程師主要會用到的幾個關鍵電源的設計。后續將持續更新光模塊相關專題,匯總在光模塊應用中可能使用到的運放單元,負載開關單元及多通道小封裝的DAC/ADC芯片,同時會詳細更新本文提到的基于Buck-boost開關型芯片的TEC控制,AMC60804的詳細使用以及多種不同的單通道負壓供電方案。
免責聲明:本文為轉載文章,轉載此文目的在于傳遞更多信息,版權歸原作者所有。本文所用視頻、圖片、文字如涉及作品版權問題,請聯系小編進行處理。
推薦閱讀:





