【導讀】本文主要針對直流系統接地/絕緣故障的危害、出現原因、表現特征、處理方法、處理故障注意事項和相關防范措施,進行了綜合的分析和總結。
1.直流系統接地的危害
直流系統一般用于變電所控制母線、合閘母線、UPS不間斷電源,也用作其他電源和邏輯控制回路。直流系統是一個絕緣系統,絕緣電阻達數十兆歐,在其正常工作時,直流系統正、負極對地絕緣電阻相等,對地電壓也是相對平衡的。當發生一點接地時,其正、負極對地電壓發生變化,接地極對地電壓降低,非接地極電壓升高,控制回路和供電可靠性會大大降低,但一般不會引發電氣控制系統的次生故障??墒?,當直流系統有兩點或多點接地時,極易引起邏輯控制回路誤動作、直流保險熔斷,使保護及自動裝置、控制回路失去電源,在復雜保護回路中同極兩點接地,還可能將某些繼電器短接,不能動作跳閘,致使越級跳閘,造成事故擴大。規程嚴格規定:直流系統多點同極接地,應停止直流系統一切工作,也是基于其故障性質的不確定因素。
(1)直流系統正極接地的危害
當發生直流正極接地時,可能會引起保護及自動裝置誤動。因為一般斷路器的跳合閘線圈以及繼電器線圈是與負極電源接通的,如果在這些回路上再發生另一點直流接地,就可能引起誤動作。

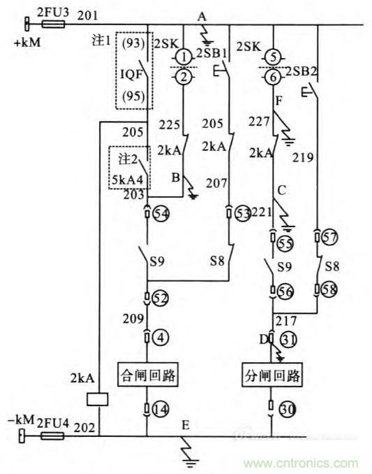
如上圖所示,A、B兩點發生直流接地時,相當于將外部合閘條件全部短接,從而使合閘線圈得電誤動作合閘。A、C兩點接地時,則外部分閘條件被短接而誤動作跳閘。A、D兩點,A、F兩點接地,同樣都能造成開關誤跳閘。
(2)直流系統負極接地的危害
直流負極接地,也可能造成保護及自動裝置拒絕動作。因為斷路器的跳、合閘線圈以及保護繼電器會在這些回路再有一點接地時,線圈被接地點短接而不能動作。同時,直流回路短路電流會使電源保險熔斷,并且可能燒壞繼電器接點,保險熔斷會失去保護及操作電源。
如上圖所示,直流接地故障發生在C、E兩點,D、E兩點,F、E兩點接地時,分閘線圈被短接,保護動作及操作時開關拒跳。同理,兩點接地開關也可能合不上,如B、E兩點接地時。
直流系統接地故障,不僅對設備不利,而且對整個電力系統的安全構成威脅。因此,出現直流接地故障時,必須盡快進行查找并排除故障,避免事故擴大及造成嚴重后果。
2.直流系統出現接地故障的原因
按接地點所處位置的不同,可將直流接地分為室內和室外兩種形式,按引起接地的原因,又可分為以下幾種形式:
(1)由下雨天氣引起的接地。在大雨天氣,雨水飄入未密封嚴實的戶外二次接線盒,使接線樁頭和外殼導通起來,引起接地。例如瓦斯繼電器不裝防雨罩,雨水滲入接線盒,當積水淹沒接線柱時,就會發生直流接地和誤跳閘。在持續的小雨天氣(如梅雨天),潮濕的空氣會使戶外電纜芯破損處或者黑膠布包扎處,絕緣大大降低,從而引發直流接地。
(2)由小動物破壞引起的接地。當二次接線盒(箱)密封不好時,蜜蜂會鉆進盒里筑巢,巢穴將接線端子和外殼連接起來時,就引發直流接地。電纜外皮被老鼠咬破時,也容易引起直流接地。
(3)由擠壓磨損引起的接地。當二次線與轉動部件(如經常開關的開關柜柜門)靠在一起時,二次線絕緣皮容易受到轉動部件的磨損,當其磨破時,便造成直流接地。
?。?)接線松動脫落引起接地。接在斷路器機構箱端子排的二次線(如10kV開關機構箱內的二次線),若螺絲未緊固,則在斷路器多次跳合時接線頭容易從端子中滑出,搭在鐵件上引起接地。
(5)誤接線引起接地。在二次接線中,電纜芯的一頭接在端子上運行,另一頭被誤認為是備用芯或者不帶電而讓其裸露在鐵件上,引起接地。在拆除電纜芯時,誤認為電纜芯從端子排上解下來就不帶電,從而不做任何絕緣包扎,當解下的電纜芯對側還在運行時,本側電纜芯一旦接觸鐵件就引發接地。
(6)插件內元件損壞引起接地。為抗干擾,插件電路設計中通常在正負極和地之間并聯抗干擾電容,該電容擊穿時引起直流接地。
3.直流系統接地/絕緣故障的特征
直流系統正常時,一般正負極之間電壓是不變的,正、負之間的電壓是220V, 正級對地為110V,負級對地為-110V,其參考電位是地電位,也就是零電位。當有直流接地發生時,正極和負極對地電壓會產生不平衡,比如正極對地還在110V 左右, 如果負極接地,那么負極對地電壓幅值會減小,參考電位向負級也偏移,原來是-55V 左右,現在可能變成-30V 等等甚至更小, 而正對地電壓則會相應提高, 比如到80V 等。經過正規設計的直流系統中,發生一極接地,直流母線電源電壓不變,這也是發生一點接地時,直流系統在短時間是可以正常工作的,不過最好查出接地點,加以消除。
4.直流系統接地/絕緣故障查找方法
(1)確認直流接地故障的真實性。
直流系統一般都有絕緣監測裝置,當發生直流接地故障或直流絕緣降低時,監測裝置會報警。發生直流接地故障、直流絕緣降低故障報警時,首先應排除誤報警的可能,可依據上節“直流系統接地故障的特征”進行測量判斷。
(2)在確有接地故障特征后,分清接地故障的極性,分析故障發生的原因。
(3)若二次回路有工作,或有設備檢修試驗,應立即停止。拉開其工作電源,看信號是否消除。
此處故障排查,可按先定位到總路空氣開關,再定位支路空氣開關的方式,用分網法縮小查找范圍,將直流系統分成幾個不相聯系的部分進行查找。
如果絕緣監測裝置有故障選線功能,可根據故障線路提示,進一步縮小故障范圍。
(4)對于不太重要的直流負荷及不能轉移的負荷,利用“瞬時停電”的方法,查該回路中所帶負荷有無接地故障。
(5)對于重要的直流負荷,用轉移負荷法,查該回路有無接地故障。
(6)查找直流系統接地故障,應隨時與調度聯系,并由二人及以上配合進行,其中一人操作,一人監護并監視表計指示及信號的變化。利用瞬時停電的方法選擇直流接地時,應按照下列順序進行:
①斷開現場臨時工作電源;
②斷合事故照明回路;
③斷合同信號電源;
④斷合附屬設備;
⑤斷合充電回路;
⑥斷合合閘回路;
⑦斷合信號回路;
⑧斷合操作回路;
⑨斷合蓄電池回路。
(7)在進行上述各項檢查選擇后仍未查出故障點 則應考慮同極性兩點接地。當發現接地在某一回路后,有環路的應先解環,再進一步采用取保險及拆端子的辦法,直至找到故障點并消除。
查找直流系統接地/絕緣故障是一個耗時費力的體力活,但根據上述查找方法,可以走很多彎路。不過直流接地/絕緣故障最苦逼的還不是耗時費力,而是故障斷斷續續,時有時無,這樣就需要根據具體情況進行具體分析了,一般還是需要在故障集中頻繁出現的時候,進行查找。
5.處理直流接地時一般注意事項
(1)禁止使用燈泡查找;
(2)發生一點接地后,原則暫停在二次回路上工作;
(3)不得造成另一點直流接地情況;
(4)使用儀表的內阻不低于2000 歐姆;
(5)采取瞬間斷電法時,應當防止保護誤動作,對于重合閘線路和備用自投電源要注意不能長時間斷電;
(6)拆解的接頭應逐一記錄下來,以免恢復接頭時造成接線錯誤。原則是誰拆解的接頭,誰恢復,恢復時逐一檢查記錄的斷點,避免遺漏接頭。
6.防范直流系統接地/絕緣故障的措施
如果直流系統發生接地故障將會對電網系統的安全穩定與正常運行造成非常嚴重的影響,甚至套使設備在運行的過程中出現斷路器的誤動以及拒動或熔絲熔斷等現象,因而會擴大事故的范圍。因此,根據小編多年的從業經驗,對直流系統接地的分類、產生的原因以及其危害進行了分析,并對直流系統接地故障的查找與排除的方法進行了探究,而在直流系統中經常套受到氣候等外平自然因素的影響而出現故障,為了更好地降低故障帶來的損失,對其進行提早的預防十分必要。因此,在進行日常的運行檢修維護工作過程中,壓采取科學合理的措施對接地故障進行預防,從而避免接地故障的發生,保證設備的安全穩定運行。
(1)對施工工藝進行規范,從根本上避免直流系統接地故障的發生,最大限度的杜絕安全隱患;
(2)在對室外端子排以及輔助開關等二次設備進行清掃的過程中,可以對停電的機套進行充分的利用;
(3)要保證斷路器端子箱、斷路器機構箱、隔離開關機構箱等二次電纜穿管處的封堵性完好,避免在陰雨以及大霧天氣或者是工作人員的疏忽將水流八而造成的設施浸泡等問題,從而保證直流系統的安全穩定運行;
(4)對室外電纜而言,要加強對其的絕緣測試工作,及時采取相應的措施,避免直流系統接地事故的發生。



